佛山桑拿,重庆一品楼品凤楼网站论坛,花满楼广州佳丽

本公司主要生产除铁器、永磁除铁器、电磁除铁器,咨询电话:0536-3475627

网站地图  |  XML
客服热线:13806360577
其他设备

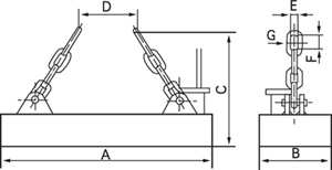
MW84-400型搬运钢板用起重电磁铁

MW84-400型搬运钢板用起重电磁铁

规格参数,外形尺寸(电压DC-200V,通电持续率TD-60%)

用途 常温用(100℃以下) 高温用(600℃以下)
型号 MW84-12040L/1 MW84-16040L/1 MW84-20040L/1 MW84-24040L/1 MW84-130421L/2 MW84-170421L/2 MW84-210421L/2 MW84-250421L/2



A mm 1200 1600 2000 2400 1260 1680 2100 2500
B 400 400 400 400 420 420 4200 420
C 1010 1000 970 900 1050 1050 1010 990
D 400 700 800 700 500 700 800 900
E 110 110 110 110 110 110 110 110
F 180 18 180 180 180 180 180 180
G 32 32 32 32 32 32 32 32
消耗功率(冷态)KW 3.0 3.2 5.0 6.0 2.4 3.7 4.0 4.8
重量Kg 550 690 850 920 650 850 1050 1250

保证搬运张数举例(在DC-220V热态电流时的值 每台担负3m长)

吸吊张数 型号 1500(mm) 2500(mm) 4000(mm)
MW84-12040L MW84-16040L MW84-20040L MW84-124040L MW84-12040L MW84-16040L MW84-20040L MW84-20040L MW84-16040L MW84-20040L MW84-20040L MW84-20040L
钢板
厚度
mm
6 6 7 7 7 3 6 6 7 - - - 3
8 5 5 5 5 3 4 5 5 - - 2 3
10 4 5 5 5 3 4 4 5 - 1 3 3
12 4 5 5 5 2 4 4 4 - 2 3 3
16 3 3 3 3 2 3 3 3 1 2 2 3
20 3 3 3 3 2 2 3 3 1 2 2 3
32 1 1 1 1 1 1 1 1 1 1 1 1



版权所有 ? 临朐县永力磁电设备有限公司(m.91bixi.cn
地址:山东省临朐县杨善工业园 电话:0536-3475627 3361680 传真:0536-3372779 手机:13806360577 联系人:付经理
主站蜘蛛池模板: 舟曲县| 西乡县| 十堰市| 金湖县| 榆社县| 涞水县| 龙泉市| 屏东市| 上饶县| 广西| 佛教| 洛南县| 美姑县| 喀喇| 上犹县| 广昌县| 章丘市| 九龙坡区| 富源县| 马尔康县| 会理县| 隆尧县| 枞阳县| 广汉市| 武邑县| 朔州市| 库尔勒市| 尚志市| 宝兴县| 孝感市| 缙云县| 辽中县| 丰镇市| 洛扎县| 额济纳旗| 浦江县| 龙川县| 新平| 崇信县| 蕉岭县| 青阳县|